0
¥0

現在カート内に商品はございません。

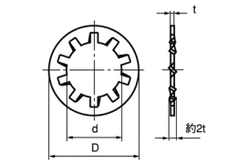
ステンレス 歯付座金(内歯形)

RoHS対応

内側に立ち上げた歯が、平座金などと組み合わせて締め付けることで、ガタツキ防止やねじのゆるみ止めとなります。

規格: JIS B1255(参考)

材質: SUS304-CSP

処理: 光沢仕上げ

硬度: HRC37~46

54件の商品が見つかりました
条件クリア
商品名
寸法1
寸法2
入数
販売価格(税別)
1個あたり(税別)
詳細

カテゴリ一覧

ページトップへ